+ Lisa oma töö      

Otsid ehitajat "Katusetööd" valdkonnast?

Parima pakkumise ja teostaja leidmiseks lisa oma töö.

Hange on lõppenud!

Võitjaks osutus kasutaja ID 1795

Eterniit katuse vahetus.

ID 24329

3856 vaatamist

Prindi

  • check Pakkumiste tegemine
    kuni 30.04.2012
  • check Võitja valik kuni
    07.05.2012
  • 3 Töö teostamine
    ja hinnang
Hanke lõpp: E, 30. aprill, 2012
Maakond: Jõgevamaa
Linn: Põltsamaa
Tööde algus: T, 01. mai, 2012 (Soovituslik)
Tööde lõpp: L, 30. juuni, 2012 (Soovituslik)
Ehitusmaterjalid: Töö tegija poolt

Töö sisu

Tere

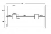
Vaja vahetada vana eterniit katus, katuse kogupind 155m2, harja mõõdud 4,5 x 16,8m. Sarikadi vahetada pole vaja. Plekk sooovitavalt trapets, mida soodsam seda parem. pakumised võib teha materjal koos tööga või ka ainult töö.

Pildid, video ja failid

Hanke korraldaja: eraisik ID28939

Pakkumised

Pakkumisi kokku: 11

Ettevõte Summa Käibemaks Lisatud Vestlus
Kasutaja ikoon ID28862
Pakkuja profiil Väike nool paremale
4 960€ Ei sisalda Ei sisalda 16.04.2012 Vestlus (0)

Pakkumise kirjeldus:

Nimetatud hind sisaldab: olemas olevalt katuselt vana katte (eterniidi) eemaldamist ja koristuist, uue roovi ja katuse aluskatte (kile) tarnet ja paigaldust ning uue trapetspleki tarnet ja paigaldust.

Kasutaja ikoon ID28845
Pakkuja profiil Väike nool paremale
3 500€ Sisaldab KM Sisaldab KM 17.04.2012 Vestlus (0)

Pakkumise kirjeldus:

See hind ilma materjalita.Esialgne hind, millest ülespoole ei lähe.Materjalide soodsalt hankimisel aitame kaasa.hind on paindlik ja läbiräägitav

Kasutaja ikoon ID28946
Pakkuja profiil Väike nool paremale
4 450€ Sisaldab KM Sisaldab KM 17.04.2012 Vestlus (0)

Pakkumise kirjeldus:

Tehtud tööle garantii!

Kasutaja ikoon ID7588
Pakkuja profiil Väike nool paremale
3 100€ Ei sisalda Ei sisalda 18.04.2012 Vestlus (0)

Pakkumise kirjeldus:

Tööraha

Kasutaja ikoon ID11974
Pakkuja profiil Väike nool paremale
4 600€ Ei sisalda Ei sisalda 24.04.2012 Vestlus (0)
Kasutaja ikoon ID1394
Pakkuja profiil Väike nool paremale
3 700€ Ei sisalda Ei sisalda 25.04.2012 Vestlus (0)

Pakkumise kirjeldus:

Decorrey plekk min. kalle 14kraadi. Töö lepinguga ja tööle 5 aastat garantiid.

Kasutaja ikoon ID2213
Pakkuja profiil Väike nool paremale
3 000€ Ei sisalda Ei sisalda 28.04.2012 Vestlus (0)

Pakkumise kirjeldus:

töö

Kasutaja ikoon ID25701
Pakkuja profiil Väike nool paremale
3 460€ Ei sisalda Ei sisalda 30.04.2012 Vestlus (3)

Pakkumise kirjeldus:

Hind sisaldab aluskatet,plekk katust ja paigaldust. Oleme katuseid ehitanud Eestis, Soomes, Norras. Tööle Garantii.
Meeldivale koostööle lootes.

Kasutaja ikoon ID22581
Pakkuja profiil Väike nool paremale
4 200€ Sisaldab KM Sisaldab KM 30.04.2012 Vestlus (0)

Pakkumise kirjeldus:

Töö ja matrjal koos käibemaksuga.

Kasutaja ikoon ID25506
Pakkuja profiil Väike nool paremale
3 600€ Sisaldab KM Sisaldab KM 30.04.2012 Vestlus (0)

Pakkumise kirjeldus:

Antud pakkumine sisaldab vana katuse eemaldamine, jääkide ladustamine sortimentide kaupa, uus roovitus, aluskile, plekk (trapetsprofiil), harjatihend, harjaplekk + muud vajaminevad plekid.
Pakkumine hakkab kehtima kui oleme objekti koos üle vaadanud tingimused sobivad.

Lugupidamisega
Imre Väin
OÜ Klug & CO juhataja
+3725261771

Kasutaja ikoon ID1795
Pakkuja profiil Väike nool paremale
3 400€ Ei sisalda Ei sisalda 30.04.2012 Vestlus (5)

Pakkumise kirjeldus:

Plekk+lisaplekid- 950.00, tööraha 1700.00, puit+aluskate+kinnitusvahendid+transport 750.00. Ettemaksu ei soovi, tasumine toimub peale tööde lõppu. Kogemus aastast 2003

Küsimused hanke korraldajale

Küsimus: private ID26721   16.04.2012 14:45
Milline on uus katuse konstruktsioon (kas tuleb aluskate jne)?
Kas majas elatakse sees (katmise vajadus) ?
Milline on ligikaudne kalle?

Teavita reeglite rikkumisest

Korraldaja vastus: 16.04.2012 15:22

Tere, aluskate tuleb kile, majas elatakse sees, kalle on vast 15-20 kraadi.

Teavita reeglite rikkumisest

Küsimus: private ID28946   16.04.2012 22:10
Tervist!
Kas soovite ka vihmaveesüsteemi uut?

Teavita reeglite rikkumisest

Korraldaja vastus: 17.04.2012 00:11

ei

Teavita reeglite rikkumisest

Lisa küsimus

Lisa küsimus

Minu pakkumine

Reeglid

Pakkumise kirjelduse väli on mõeldud pakkumise detailsemaks lahti kirjutamiseks. Pikema teksti mugavaks sisestamiseks klikkige kasti paremal ülaservas oleval ikoonil.
Pakkumist tehes on keelatud postitada enda kontaktandmeid (nimi, telefon, aadress jne). Me jälgime ja analüüsime pakkumisi, et vältida pettuseid ja reeglite rikkumisi.
Rikkumise puhul kasutajakonto blokeeritakse.

 

Teisi töid samas valdkonnas

Valdkonnas "Katusetööd" on 9 aktiivset tööd

no-img Pilt puudub

Käidava katuse PVC 54m2

Asukoht: Harjumaa, Muraste
Aega jäänud: 4p 14h
Tehtud pakkumisi: 3

Garaaži katuse vahetamine

Asukoht: Harjumaa, Viimsi
Aega jäänud: 13p 14h
Tehtud pakkumisi: 2

Vanemad teated:

Vaata kõiki

Sellel veebilehel kasutatakse küpsiseid. Kasutamist jätkates nõustute küpsiste kasutamisega.

Sulge
 
Minu pakkumine

Reeglid

Pakkumise kirjelduse väli on mõeldud pakkumise detailsemaks lahti kirjutamiseks. Pikema teksti mugavaks sisestamiseks klikkige kasti paremal ülaservas oleval ikoonil.
Pakkumist tehes on keelatud postitada enda kontaktandmeid (nimi, telefon, aadress jne). Me jälgime ja analüüsime pakkumisi, et vältida pettuseid ja reeglite rikkumisi.
Rikkumise puhul kasutajakonto blokeeritakse.