+ Lisa oma töö      

Otsid ehitajat "Katusetööd" valdkonnast?

Parima pakkumise ja teostaja leidmiseks lisa oma töö.

Eterniit katuse vahetus

ID 28660

4218 vaatamist

Prindi

  • check Pakkumiste tegemine
    kuni 12.10.2013
  • check Võitja valik kuni
    19.10.2013
  • 3 Töö teostamine
    ja hinnang
Hanke lõpp: L, 12. oktoober, 2013
Maakond: Jõgevamaa
Muu asula: maja Põltsamaa lähistel
Tööde algus: E, 14. oktoober, 2013 (Soovituslik)
Tööde lõpp: T, 31. detsember, 2013 (Soovituslik)
Ehitusmaterjalid: Töö tegija poolt

Töö sisu

Tere

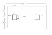
Vaja vahetada pool vanast eterniit katusest, katuse kogupind u.162m2, harja mõõdud 4,8 x 16,8m. Sarikadi vahetada pole vaja vana roov on enam-vähem, võibolla mõni roovi liist juurde. Vahetada on siis vaja risti pool maja katust ( 80m2) koos uue tuulekasti ehitusega. Uueks katuse materjaliks uus asbvestivaba eterniit. Pakkumist sooviks materjal ja töö. Tänud

Pildid, video ja failid

Hanke korraldaja: eraisik ID28939

Pakkumised

Pakkumisi kokku: 10

Ettevõte Summa Käibemaks Lisatud Vestlus
Kasutaja ikoon ID33265
Pakkuja profiil Väike nool paremale
12 000€ Sisaldab KM Sisaldab KM 01.10.2013 Vestlus (0)
Kasutaja ikoon ID32606
Pakkuja profiil Väike nool paremale
9 900€ Ei sisalda Ei sisalda 02.10.2013 Vestlus (0)

Pakkumise kirjeldus:

Ettemaks materjali jaoks. Tehtud tööle Garantii.

Kasutaja ikoon ID30970
Pakkuja profiil Väike nool paremale
9 000€ Ei sisalda Ei sisalda 03.10.2013 Vestlus (0)

Pakkumise kirjeldus:

Tere meie ettevõttel on pikaajaline kogemus erinevatel ehitustöödel sealhulgas ka katusetööd. Meie tehtud tööd on kiired ja kvaliteetsed.

Kasutaja ikoon ID33295
Pakkuja profiil Väike nool paremale
14 900€ Ei sisalda Ei sisalda 08.10.2013 Vestlus (0)
Kasutaja ikoon ID17833
Pakkuja profiil Väike nool paremale
9 290€ Ei sisalda Ei sisalda 08.10.2013 Vestlus (0)

Pakkumise kirjeldus:

Pakkumine sisaldab kõiki nimetatud töid ja materjale. Töödele Garantii 5. aastat.

Kasutaja ikoon ID32848
Pakkuja profiil Väike nool paremale
10 000€ Ei sisalda Ei sisalda 08.10.2013 Vestlus (0)
Kasutaja ikoon ID31323
Pakkuja profiil Väike nool paremale
7 451€ Sisaldab KM Sisaldab KM 11.10.2013 Vestlus (0)

Pakkumise kirjeldus:

Tere. Hind sisaldab eterniidi eemaldust ja uue eterniidi paigaldust koos kõigi vajaminevate lisaplekkidega ja harjatihendiga (vajadusel osaliselt vana roovi vahetust). Vana tuulekasti lammutamist. Tuulekastilaudu, nende värvimist vastavalt Teie soovile ja uue tuulekasti ehitust. Tööd teostavad üle 10 aastase kogemusega katuste ehitusele spetsialiseerunu ... Rohkem

Kasutaja ikoon ID27180
Pakkuja profiil Väike nool paremale
6 200€ Ei sisalda Ei sisalda 11.10.2013 Vestlus (0)

Pakkumise kirjeldus:

Tere,sisaldab;vana eterniidi jäätmekäitlust, uus asbestivaba eterniit (hall),harjaplekk tihendiga,korstnaplekk,uus tuulekast,+vihmaveesüsteem (Zn).garantii LP.

Kasutaja ikoon ID30449
Pakkuja profiil Väike nool paremale
4 846€ Sisaldab KM Sisaldab KM 12.10.2013 Vestlus (2)

Pakkumise kirjeldus:

Tere.
Pakkumine sisaldab Teie poolt soovitud töid:vana eterniidi eemaldamine,eterniidi utiliseerimine, uue asbestivaba eterniidi paigaldamine,uue tuulekasti ehitamine. Lisaplekkide paigaldamine.Lisaks sisaldab pakkumine ka vihmaveesüsteeme. Töödele garantii. Meeldivale koostööle lootma jäädes. Tervitades Rauno

Kasutaja ikoon ID33329
Pakkuja profiil Väike nool paremale
8 550€ Ei sisalda Ei sisalda 12.10.2013 Vestlus (0)

Küsimused hanke korraldajale

Küsimus: private ID31323   02.10.2013 13:24
Mitme korruseline on maja ja kui suur on katusekalle?

Teavita reeglite rikkumisest

Korraldaja vastus: 02.10.2013 19:18

tere
Kahe kordne maja, katuse kalle u 15-20 kraadi.

Teavita reeglite rikkumisest

Küsimus: private ID23245   09.10.2013 21:43
Tere.Kas uus katusekatte materjali eelistus on kindlasti eterniit?Pakuks palju paremat katusekatet teie maja katusekallet arvestades.Saaksin teha huvi korral soodsa pakkumise kogu maja katuse vahetuse kohta.Parimat.

Teavita reeglite rikkumisest

Korraldaja vastus: 25.10.2013 09:10

Tere Ei pea olema kindlasti eterniit, võib ka või alternatiiv.
Parimat

Teavita reeglite rikkumisest

Lisa küsimus

Lisa küsimus

Minu pakkumine

Reeglid

Pakkumise kirjelduse väli on mõeldud pakkumise detailsemaks lahti kirjutamiseks. Pikema teksti mugavaks sisestamiseks klikkige kasti paremal ülaservas oleval ikoonil.
Pakkumist tehes on keelatud postitada enda kontaktandmeid (nimi, telefon, aadress jne). Me jälgime ja analüüsime pakkumisi, et vältida pettuseid ja reeglite rikkumisi.
Rikkumise puhul kasutajakonto blokeeritakse.

 

Teisi töid samas valdkonnas

Valdkonnas "Katusetööd" on 9 aktiivset tööd

no-img Pilt puudub

Käidava katuse PVC 54m2

Asukoht: Harjumaa, Muraste
Aega jäänud: 4p 12h
Tehtud pakkumisi: 3

Garaaži katuse vahetamine

Asukoht: Harjumaa, Viimsi
Aega jäänud: 13p 12h
Tehtud pakkumisi: 2

Vanemad teated:

Vaata kõiki

Sellel veebilehel kasutatakse küpsiseid. Kasutamist jätkates nõustute küpsiste kasutamisega.

Sulge
 
Minu pakkumine

Reeglid

Pakkumise kirjelduse väli on mõeldud pakkumise detailsemaks lahti kirjutamiseks. Pikema teksti mugavaks sisestamiseks klikkige kasti paremal ülaservas oleval ikoonil.
Pakkumist tehes on keelatud postitada enda kontaktandmeid (nimi, telefon, aadress jne). Me jälgime ja analüüsime pakkumisi, et vältida pettuseid ja reeglite rikkumisi.
Rikkumise puhul kasutajakonto blokeeritakse.