+ Lisa oma töö      

Otsid ehitajat "Katusetööd" valdkonnast?

Parima pakkumise ja teostaja leidmiseks lisa oma töö.

Hange on lõppenud!

Võitjaks osutus kasutaja ID 27180

Eterniit katuse vahetus,pool maja.

ID 32938

4211 vaatamist

Prindi

  • check Pakkumiste tegemine
    kuni 20.05.2015
  • check Võitja valik kuni
    27.05.2015
  • 3 Töö teostamine
    ja hinnang
Hanke lõpp: K, 20. mai, 2015
Maakond: Jõgevamaa
Muu asula: adavere
Tööde algus: E, 01. juuni, 2015 (Soovituslik)
Tööde lõpp: T, 30. juuni, 2015 (Soovituslik)
Ehitusmaterjalid: Töö tegija poolt

Töö sisu

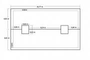
Vaja oleks vahetada kahe korruselise,nelja korteriga majal pool vanast eterniit katusest, katuse kogupind u.162m2, harja mõõdud u.4,8 x 16,8m. loodan,et sarikaid vahetada pole vaja vana roov on enam-vähem,nagu korteri müüa vihjas.ise ülesse pole veel saanud. võibolla mõni roovi liist juurde. Vahetada on siis vaja risti pool maja katust u.( 80m2) koos uue tuulekasti ehitusega. Uueks katuse materjaliks uus asbvestivaba eterniit. Pakkumist sooviks materjali ja tööga. Tänud

Pildid, video ja failid

Hanke korraldaja: eraisik ID38494

Pakkumised

Pakkumisi kokku: 11

Ettevõte Summa Käibemaks Lisatud Vestlus
Kasutaja ikoon ID8637
Pakkuja profiil Väike nool paremale
5 200€ Sisaldab KM Sisaldab KM 27.04.2015 Vestlus (0)

Pakkumise kirjeldus:

Tere. Saadan teile katuse vahetuse hinnapakkumise. Tööraha 2500 eur Materjalid 2700. Hinnas arvestatud kõik tööd vana materjali eemaldus ja utiliseerimine, ning kõik uue paigaldus koos viimistlusega. Tööaeg 7-10 tööpäeva. Tehtud töödele garantii 36 kuud. Pildid tehtud töödest ID8637 Oleme Jõgevamaa Ettevõte. Tööd teostame 4 mehelise briga ... Rohkem

Kasutaja ikoon ID33424
Pakkuja profiil Väike nool paremale
4 983€ Sisaldab KM Sisaldab KM 29.04.2015 Vestlus (0)

Pakkumise kirjeldus:

Tere. Pakkumine sisaldab kogu vajamineva materjali ja tööde hinda. Ettemaks kokkulepel arve alusel.
Lugupidamisega,J.

Kasutaja ikoon ID27180
Pakkuja profiil Väike nool paremale
4 716€ Sisaldab KM Sisaldab KM 03.05.2015 Vestlus (0)

Pakkumise kirjeldus:

Tere Eterniit;1000€,Liiteplekid/kruvid;100€,materjalide trantsport60€,Eterniidi paigaldus/o.oleva lammutusega850€,Jäätmekäitlus;600€Kraanateenus 200€,Räästakasti valmistamine;480€,korvtõstuk;240€, Üldkulud 400€, Kokku 3930+km

Kasutaja ikoon ID29866
Pakkuja profiil Väike nool paremale
4 678€ Ei sisalda Ei sisalda 08.05.2015 Vestlus (0)

Pakkumise kirjeldus:

Tervist. Hind sisaldab vana katuse eemaldust ja utiliseerimist, uue katuse paigaldust, tuulekastide ehitust, töö+materjal. Tehtud töö korralik ja garantiiga.
Parimat T.

Kasutaja ikoon ID38618
Pakkuja profiil Väike nool paremale
4 753€ Sisaldab KM Sisaldab KM 13.05.2015 Vestlus (0)

Pakkumise kirjeldus:

ettemaksu soovime materjali ostuks kogu ulatuses

Kasutaja ikoon ID35278
Pakkuja profiil Väike nool paremale
3 500€ Sisaldab KM Sisaldab KM 14.05.2015 Vestlus (0)

Pakkumise kirjeldus:

Tere!
Hind sisaldab tööraha ja materjali
Garantii 3 aastat

Kasutaja ikoon ID35973
Pakkuja profiil Väike nool paremale
4 500€ Ei sisalda Ei sisalda 20.05.2015 Vestlus (0)

Pakkumise kirjeldus:

Tere, pakkumine sisaldab alljärgnevat; täismahus Teie poolt loetletud tööde teostamist koos materjalide ja mehhanismidega (täpne pakkumine pärast objektiga tutvumist). Muud märkused; Tellijate soovitused, referentsid ja korrektse hinnapakkumise esitame hiljem. Loodame, et meie pakkumine sobib Teile ja oleme alati valmis edaspidisteks läbirääkimiste ... Rohkem

Kasutaja ikoon ID35297
Pakkuja profiil Väike nool paremale
4 200€ Sisaldab KM Sisaldab KM 20.05.2015 Vestlus (0)

Pakkumise kirjeldus:

Pakkumine sisaldab
*Vana katuse eemaldust
*Sarikate proteesimist
*Aluskatte ja roovi paigaldust rihtimisega
*Tuulekasti ehitust(1*krunt+2*värv)
*Eterniidi paigaldust
*Prahi utiliseerimist!

Kasutaja ikoon ID11946
Pakkuja profiil Väike nool paremale
4 100€ Sisaldab KM Sisaldab KM 20.05.2015 Vestlus (0)
Kasutaja ikoon ID38657
Pakkuja profiil Väike nool paremale
3 460€ Sisaldab KM Sisaldab KM 20.05.2015 Vestlus (0)

Pakkumise kirjeldus:

Katuse vahetus koos materjaliga.

Kasutaja ikoon ID38806
Pakkuja profiil Väike nool paremale
4 200€ Ei sisalda Ei sisalda 20.05.2015 Vestlus (0)

Küsimused hanke korraldajale

Küsimus: private ID33424   22.04.2015 14:58
Tere.<br />
Kas tuulekast tuleb ehitada ikka tervele majale või ka ainult osaliselt/poolele?<br />
Lugupidamisega,J.

Teavita reeglite rikkumisest

Korraldaja vastus: 24.04.2015 11:23

tere.tuulekast ka vaid pool maja.....ei saa naabritele mõistust pähe,et oleks vaja kogu katus teha....eks aasta-paari pärast vaatame,kes naerab.<br />
ilusat kevadet.

Teavita reeglite rikkumisest

Lisa küsimus

Lisa küsimus

Minu pakkumine

Reeglid

Pakkumise kirjelduse väli on mõeldud pakkumise detailsemaks lahti kirjutamiseks. Pikema teksti mugavaks sisestamiseks klikkige kasti paremal ülaservas oleval ikoonil.
Pakkumist tehes on keelatud postitada enda kontaktandmeid (nimi, telefon, aadress jne). Me jälgime ja analüüsime pakkumisi, et vältida pettuseid ja reeglite rikkumisi.
Rikkumise puhul kasutajakonto blokeeritakse.

 

Teisi töid samas valdkonnas

Valdkonnas "Katusetööd" on 9 aktiivset tööd

no-img Pilt puudub

Käidava katuse PVC 54m2

Asukoht: Harjumaa, Muraste
Aega jäänud: 4p 10h
Tehtud pakkumisi: 3

Garaaži katuse vahetamine

Asukoht: Harjumaa, Viimsi
Aega jäänud: 13p 10h
Tehtud pakkumisi: 2

Vanemad teated:

Vaata kõiki

Sellel veebilehel kasutatakse küpsiseid. Kasutamist jätkates nõustute küpsiste kasutamisega.

Sulge
 
Minu pakkumine

Reeglid

Pakkumise kirjelduse väli on mõeldud pakkumise detailsemaks lahti kirjutamiseks. Pikema teksti mugavaks sisestamiseks klikkige kasti paremal ülaservas oleval ikoonil.
Pakkumist tehes on keelatud postitada enda kontaktandmeid (nimi, telefon, aadress jne). Me jälgime ja analüüsime pakkumisi, et vältida pettuseid ja reeglite rikkumisi.
Rikkumise puhul kasutajakonto blokeeritakse.